Torna indietro   BaroneRosso.it - Forum Modellismo > Elettronica > Circuiti Elettronici


Rispondi
 
Strumenti discussione Visualizzazione
Vecchio 30 ottobre 09, 12:51   #1 (permalink)  Top
User
 
Data registr.: 14-05-2007
Residenza: Firenze
Messaggi: 7
riduzione voltaggio

Salve, come sempre i problemi arrivano quando non ci si capisce niente come me, spero quindi che qualcuno di buona volontà possa darmi una risposta.
Mi interesso di mongolfiere radiocomandate,(BALLOONS) il mio problema è questo: considerando primario il fattore peso, ho due elettrovalvole che funzionano a 7,5 volts, i due switch della multiplex che le azionano mi sembra che possano funzionare da 2 a 24 volts e qui non ci sono problemi ma la ricevente della optic 6 funziona a 4,5. Ho un pacco batterie da 6 stilo da 1,2 ciscuna, come posso inserire qualcosa che mi abbassi il voltaggio che va alla ricevente? aggiungere un pacco batterie solo per la ricevente mi aumenterebbe il peso e qui anche 1 grammo ha la sua importanza. Grazie
astore non è collegato   Rispondi citando
Vecchio 30 ottobre 09, 13:16   #2 (permalink)  Top
User
 
L'avatar di antonio60
 
Data registr.: 05-02-2008
Residenza: Borgofranco di Ivrea -TO-
Messaggi: 1.662
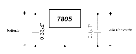
O apri il pacco batterie e alimenti la ricevente con 4 stilo derivandoti solo il polo poitivo e tenedo in comune il polo negativo, oppure prova con lo schema allegato.

Come soluzione (pur più pesante della precedente) dovrebbe essere leggera, e dvrebbe consentire una perdita di carica uniforme alle stilo, mentre la soluzione data dal filo derivato revede che la gestione della RX e magari dei relativi servi sia affidata solo alle relative 4 batterie

ciao
Icone allegate
riduzione voltaggio-alim.gif  
__________________
Se vuoi descrivere ciò che è vero, lascia l'eleganza al sarto. (A. Einstein)

Ultima modifica di antonio60 : 30 ottobre 09 alle ore 13:22
antonio60 non è collegato   Rispondi citando
Vecchio 30 ottobre 09, 16:00   #3 (permalink)  Top
UserPlus
 
L'avatar di protomax
 
Data registr.: 21-02-2005
Residenza: TURIN 45N 7E
Messaggi: 1.951
Invia un messaggio via MSN a protomax
Suggerisco di utilizzare una lipo 2s al posto delle stilo per recuperare peso ed avere. Piu' energia...e poi di dotarsi di un piccolo bec o anche di una serie di diodi per alimentare la tu rx con eventuali servi
__________________
C'e' chi vola con l'elettronica e chi fa volare l'elettronica ... entrambi volano.
________________________________________________
ProtoMax proudly present: ProtoMeter 2
32bit ARM core + ZigBee Radio all in one Telemetry system
... Next on this forum
protomax non è collegato   Rispondi citando
Vecchio 30 ottobre 09, 16:31   #4 (permalink)  Top
User
 
L'avatar di illez
 
Data registr.: 06-08-2007
Residenza: Empoli
Messaggi: 1.813
Se usa 6 stilo da 1,2, ha un totale di 7,2V; il limite minimo per un funzionamento corretto del 7805 (se non capisco male dal datasheet) è 7V.
Quando si scaricano un pochino c'è il rischio che non funzioni più.
O sbaglio?
Meglio un piccolo bec, leggero e da pochi euro
__________________
.......
illez non è collegato   Rispondi citando
Vecchio 30 ottobre 09, 17:09   #5 (permalink)  Top
User
 
L'avatar di cl004
 
Data registr.: 11-09-2007
Residenza: Firenze
Messaggi: 484
Invia un messaggio via MSN a cl004
Attenzione! Dipende un po da quanta corrente ci devi tirare fuori

Con un 7805 in to220, più di 1A o giu di li non ce ne tiri fuori.

Per un micromodellino io ho usato un 78L05, che più di 100 mA no eroga, in pratica mi tiene solo accesa la ricevente ;)
Icone allegate
riduzione voltaggio-dscn9986-320x200-.jpg  
__________________

________________________________
ProtoMeter 2 By Protomax: 32bit ARM core + ZigBee Radio all in one Telemetry system
cl004 non è collegato   Rispondi citando
Vecchio 30 ottobre 09, 18:57   #6 (permalink)  Top
User
 
Data registr.: 14-05-2007
Residenza: Firenze
Messaggi: 7
Grazie a tutti per le cortesi risposte e suggerimenti ma, come avevo premesso non ci capisco niente, quindi cosa è un becs e come va montato? ci sono di varie potenze? provo ad allegarvi un disegno di quello che vorrei realizzare. C'è la batteria, la ricevente i due multiswitch della Multiplex che devono dare corrente alle due elettrovalvole per farle aprire. In teoria è facile ma per me è molto complesso. Grazie per la vostra comprensione. Se volete vedere le mie mongolfiere potete andare sul mio sito BALLOONS, non capisco perché anche quando lo scrivo per intero appare solo la scritta balloon, comunque il link funziona lo stesso.
astore non è collegato   Rispondi citando
Vecchio 30 ottobre 09, 19:00   #7 (permalink)  Top
User
 
Data registr.: 14-05-2007
Residenza: Firenze
Messaggi: 7
scusate, mi ero dimenticato di allegare lo schema.
Icone allegate
riduzione voltaggio-schema.jpg  
astore non è collegato   Rispondi citando
Vecchio 30 ottobre 09, 19:20   #8 (permalink)  Top
User
 
L'avatar di MSchiepp
 
Data registr.: 21-01-2004
Residenza: Milano
Messaggi: 989
La soluzione che ti hanno proposto con il regolatore può andare bene dato che mi sembra di aver capito che ci devi alimentare solo la ricevente; se non te la senti di costruirlo puoi prenderlo già fatto cercando sui vari siti on-line 'regolatore' o 'ubec' e troverai cose come queste:

Modellismo, aeromodellismo, elimodellismo, automodellismo dinamico elettrico a scoppio a turbina = Jonathan.it

Michele
__________________
__________________________________________________
The worst day flying is better than the best day working.
MSchiepp non è collegato   Rispondi citando
Vecchio 31 ottobre 09, 17:25   #9 (permalink)  Top
User
 
Data registr.: 14-05-2007
Residenza: Firenze
Messaggi: 7
Grazie nuovamente a tutti per i consigli in particolare a MSchiepp che mi ha fattovedere cosa devo acquistare.
astore non è collegato   Rispondi citando
Rispondi

Bookmarks




Regole di scrittura
Non puoi creare nuove discussioni
Non puoi rispondere alle discussioni
Non puoi inserire allegati
Non puoi modificare i tuoi messaggi

BB code è Attivato
Le faccine sono Attivato
Il codice [IMG] è Attivato
Il codice HTML è Disattivato
Trackbacks è Disattivato
Pingbacks è Disattivato
Refbacks è Disattivato


Discussioni simili
Discussione Autore discussione Forum Commenti Ultimo Commento
Riduzione Per brushless Abarthjob Aeromodellismo Principianti 9 09 febbraio 08 19:34
Riduzione Corse fishwolf Radiocomandi 12 23 settembre 07 19:44
Riduzione progetto GeeBee R1 kikki Aeromodellismo Progettazione e Costruzione 3 03 maggio 07 17:15
Riduzione spessore profilo dannybon Aeromodellismo Alianti 33 30 aprile 07 20:22
Riduzione Fiser tek SoldatoSemplice Circuiti Elettronici 2 05 novembre 06 19:47



Tutti gli orari sono GMT +2. Adesso sono le 18:54.


Basato su: vBulletin versione 3.8.11
Copyright ©2000 - 2025, Jelsoft Enterprises Ltd.
E' vietata la riproduzione, anche solo in parte, di contenuti e grafica. Copyright 1998/2019 - K-Bits P.I. 09395831002